PVC-U H42F-10U Bottom Valve DN50-200 2"-8" ANSI Standard

Gray FRPP Pedal Foot Valve Custom 4 Inch DN50-200 Low-Cost Industrial Plastic Hydraulic Valve for Water Industry ANSI Standard
Type: Hydraulic
Origin: China
Brand Name: KXPV
Model: H42F-10U
Application: General
Medium Temperature: Medium Temperature, Room Temperature
Power Supply: Manual
Medium: Acid
Port Size: DN50-200
Structure: Flanged
Product Name: Bottom Valve
Delivery Time: 7 Days
Minimum Order Quantity: 1 Piece
Color: Gray
Size: DN50-200

Pressure Class: 1.0Mpa(10bar)

App Temperature Bound List

 

Material        Medium temperature℃ Material Medium temperature℃
PVC-C -20℃~+95℃ PVC-U -5℃~+45℃
FRPP -20℃~+120℃ PPH -20℃~+110℃
PVDF 40℃~+150℃

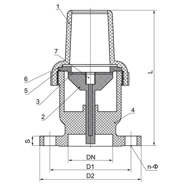
Product Structural Features

1.Production specifications range from DN15 to DN300.
2.DN200 to DN300 can be produced upon customer request.
3.Excellent sealing performance.
4.Low pressure loss.
5.Good hydraulic performance.
6.Simple structure and easy installation.

 

Part Material Table

No. Name Material Qty.
PVC-C PVC-U PVDF PPH FRPP
1 Mesher PVC-C PVC-U PVDF PPH FRPP 1
2 Pistons PVC-C PVC-U PVDF PPH FRPP 1
3 Sealing rubber FPM EPDM FPM EPDM 1
4 Body PVC-C PVC-U PVDF PPH FRPP 1
5 Sealing rubber FPM EPDM FPM EPDM 1
6 Partition PVC-C PVC-U PVDF PPH FRPP 1
7 Retaining Nut PVC-C PVC-U PVDF PPH FRPP 1
Dimension List

 

Specification d(mm) D(mm) L(mm) b(mm) n-Φ(mm)
2"(50) 215 121 160 16 4-Φ17x20
2½"(65) 235 140 170 16 4-Φ15x19
4"(100) 315 191 220 23 8-Φ18x20

Specification d(mm) D(mm) L(mm) b(mm) n-Φ(mm)
5"(125) 330 216 250 28 8-Φ18
6"(150) 330 241 282 30 8-Φ21
8"(200) 380 299 335 32 8-Φ23

Message Feedback
About Us
Kaixin Pipeline Technologies Co., Ltd.
Founded in 1999, Kaixin Pipeline Technologies Co., Ltd. is a high-tech enterprise integrating R&D, manufacturing, sales, and service. As a famous China PVC-U H42F-10U Bottom Valve DN50-200 2"-8" ANSI Standard Suppliers and PVC-U H42F-10U Bottom Valve DN50-200 2"-8" ANSI Standard Factory, the company holds multiple prestigious certifications, including National High-Tech Enterprise, “Little Giant” Specialized and Sophisticated SME, National Single Product Champion (Cultivation), Provincial Technology-based SME, Ningbo Specialized and Sophisticated SME, Ningbo Single Product Champion (Cultivation), Ningbo Polymer Pipe & Valve Technology R&D Center, District-Level Green Factory, Ningbo Four-Star Management Innovation Enterprise, and Enterprise Data Management Capability Maturity Level 2.
We specialize in developing, producing, and supplying non-metallic corrosion-resistant products for chemical applications, including plastic valves, pipes, pipe fittings, and corrosion-resistant pumps. Our product portfolio spans materials such as PVC-C, PVC-U, PVDF, PPH, and FRPP, with a comprehensive range of types and specifications. Notably, our butterfly valves can reach DN1000 in diameter, while pipes and fittings extend up to DN800, addressing market gaps and maintaining our competitive edge in the industry.
Guided by the principle of “Technology-Driven, Keeping Pace with the Times,” Kaixin allocates nearly RMB 10 million annually to R&D. We ensure superior product quality through standardized automated manufacturing and strict sourcing of imported raw materials. Aligned with our international development strategy, we continuously monitor global market trends and leverage digital channels to bring high-quality “Made in China” products to customers worldwide.
Ningbo • Fenghua R&D & Production Base
With a total investment of RMB 200 million, Kaixin Ultra-Pure Pipe Technology (Ningbo) Co., Ltd. has established a new materials laboratory in collaboration with universities and research institutes, built a modern manufacturing base, and installed 8 fully automated production lines for modified plastics and 8 for polymer materials. The facility is dedicated to the R&D, production, and application of new modified plastics and polymer materials. Kaixin is also committed to attracting top talent across disciplines, continuously driving product innovation and brand development, with the goal of becoming a globally recognized leader in the R&D and manufacture of polymer valves, pipes, and fittings.
Certificate Of Honor
  • honor
  • honor
  • honor
  • honor
  • honor
  • honor
  • honor
  • honor
  • honor
News